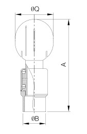
喷头:304/316L
DIN |
ΦB |
3A |
ΦB |
SMS |
ΦB |
ISO |
ΦB |
A |
Q |
DN10 |
18.0 |
1/2" |
12.7 |
12.7 |
12.7 |
Φ12.7 |
12.7 |
110.0 |
70.0 |
DN20 |
22.0 |
3/4" |
19.05 |
19 |
19.05 |
Φ19 |
19.1 |
137.0 |
53.0 |
DN25 |
28.0 |
1" |
25.4 |
25 |
25.4 |
Φ25 |
25.4 |
143.0 |
53.0 |
DN32 |
34.0 |
1 1/4" |
31.8 |
32 |
31.8 |
Φ32 |
31.8 |
145.0 |
53.0 |
DN40 |
40.0 |
1 1/2" |
38.1 |
38 |
38.1 |
Φ38 |
38.1 |
145.0 |
53.0 |
DN50 |
52.0 |
2" |
50.8 |
51 |
50.8 |
Φ51 |
50.8 |
180.0 |
76.0 |
DN65 |
70.0 |
2 1/2" |
63.5 |
63 |
63.5 |
Φ63 |
63.5 |
200.0 |
76.0 |
联系人:曾总
手机:18006689950
电话:0577-81260666
邮箱:
地址: 浙江省温州市龙湾区永兴街道大塘村沙田工业区